RSK-lt Easy Installation elastic sleeve pin coupling with pins and elastic bushings

Home / Products / Flexible Couplings / Elastic Pin Couplings / RSK-lt Easy Installation elastic sleeve pin coupling with pins and elastic bushings

RSK-lt Easy Installation elastic sleeve pin coupling with pins and elastic bushings

Contact Us
  • Specification
  • Describe
Specification

Key Characteristics:

Simple Structure, Low Cost

Low manufacturing cost and price

No Lubrication Required, Easy Maintenance

Possesses Some Compensation and Damping Ability

Easy Installation

The rubber elastic bush can provide a degree of electrical insulation

Primary Application Fields:

Connections between motors and driven machines in fans, pumps, and other general machinery (most common)

Light conveyors, mixers, agricultural machinery

Small-to-medium compressors, generator sets

Various light industrial machinery where cost is a sensitive factor

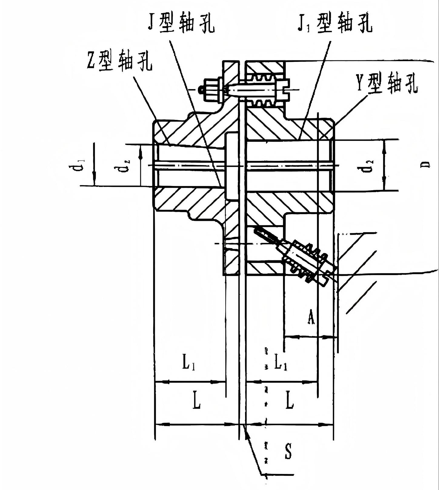
Model

Nominal Torque

(N·m)

Permissible

rotational speed

(rpm)

Shaft hole diameter

(mm)

d₁、d₂、dz

Shaft hole length

(mm)

D

A

S

Allowable

compensation

amount

weight

(kg)

Moment of

Inertia

(kg.m2

)

Y-shaped

J、J、Z-shaped

Radial

(mm)

Angle

direction

iron

steel

iron

steel

L

L₁

L

 

(mm)

 

RSK-LT1

6.3

6600

8800

9

9

20

14

71

18

3

0.2

1°30'

0.82

0.0005

10、11

10、11

25

17

12

12、14

32

20

RSK-LT2

16

5500

7600

12、14

12、14

32

20

80

18

3

0.2

1°30'

1.20

0.0008

16

16、18、19

42

30

42

RSK-LT3

31.5

4700

6300

16、18、19

16、18、19

42

30

42

95

35

4

0.2

1°30°

2.20

0.0023

20

20、22

52

38

52

RSK-LT4

63

4200

5700

20、22、24

20、22、20

52

38

52

106

35

4

0.2

1°30'

2.84

0.0037

 

25、28

62

44

62

RSK-LT5

125

3600

4600

25、28

25、28

62

44

62

130

45

5

0.3

1°30'

6.05

0.012

30、32

30、32、35

82

60

82

RSK-LT6

250

3300

3800

30、35、38

32、35、38

82

60

82

160

45

5

0.3

1°00'

9.57

0.028

40

40、42

112

84

12

RSK-LT7

500

2800

3600

40、42、45

40、42、45、48

112

84

112

190

45

5

0.3

1°00'

14.01

0.055

RSK-LT8

710

2400

3000

45、48、50、55

45、48、50、55、56

112

84

12

224

65

6

0.4

1°00'

23.12

0.1340

 

60、63

142

107

142

RSK-LT9

1000

2100

2850

50、55、56

50、55、56

112

84

112

250

65

6

0.4

1°00'

30.69

0.2130

60、63

60、63、65、70、71

142

107

42

RSK-LT10

2000

1700

2300

63、65、70、71、75

63、65、70、71、75

142

107

142

315

80

8

0.4

1°00'

61.40

0.660

80、85

80、85、90、95

172

132

172

RSK-LT11

4000

1350

1800

80、85、90、95

80、85、90、95

172

132

172

400

100

10

0.5

0°00'

120.70

2.122

100、110

100、110

212

167

212

RSK-LT12

8000

1100

1450

100、110、120、125

100、110、120、125

212

167

212

475

130

12

0.5

0°00'

210.34

5.39

 

130

252

202

252

RSK-LT13

16000

800

1150

120、125

120、125

212

167

212

600

180

14

0.6

0°00'

419.36

11.58

130、140、150

130、140、150

252

202

252

160

160、170

302

242

302

 







Company
Jiangsu Rokang Heavy Industry Technology Co., Ltd.
Jiangsu Rokang Heavy Industry Technology Co., Ltd. has fixed assets of more than 80 million yuan, and has a team of professional talents in mechanical design, precision manufacturing, heat treatment, welding, etc.; the company has a one-stop complete set of processing facilities and a series of quality inspection systems such as measurement, physical and chemical, and dynamic testing, and has a comprehensive mechanical processing capability. For many years, the company has been committed to the research and development and manufacturing of ball cage type constant velocity universal couplings, cross shaft type universal couplings, and drum gear couplings. It has carried out close industry-university-research cooperation with military and local scientific research institutes such as Jiangsu University of Science and Technology, School of Mechanical Engineering of Jiangsu University, and Power Engineering Department of PLA Naval Academy, and has continuously expanded into the fields of precision, heavy load and high speed. The products have successfully replaced foreign imported products with excellent performance, and the process technology has reached the international advanced level. It has been widely used in lifting and transportation, metallurgical machinery, metal rolling, engineering machinery, mining machinery, petrochemical, textile machinery, military ships, armored vehicles, railway locomotives, special vehicles and other fields. The product quality and service have been recognized and praised by the majority of users, and are exported to Europe, America, Russia, the Middle East, India and other countries and regions. In recent years, the company has been committed to the in-depth research and development of ball cage constant velocity universal couplings, and has successively developed ball cage constant velocity universal couplings for screw pumps, ball spline ball cage constant velocity universal couplings, coaxial double-speed, and double-way ball cage constant velocity universal couplings. It fundamentally solves the new problems that users currently encounter during use. The company has always adhered to the business purpose of "quality first, honest management, and customer first". We are willing to work with you with excellent products, preferential prices and thoughtful services to create a brilliant career!
Certificate Of Honor
  • 9
  • 10
  • 12
  • 1
  • 2
  • 3
  • 4
  • 5
  • 6
  • 7
  • 8
News
  • We are pleased to announce that the official website of Jiangsu Rokang Heavy Industry Technology Co., Ltd. is now online. Here you can learn about our latest product information, service introduction,...

    Read More
  • 1. Structural composition and meshing mechanism‌Double sprocket and common chain‌The chain coupling consists of two sprockets with the same number of teeth and a common roller chain. The two sprockets...

    Read More
  • Transmitting torque and motionEfficient power transmission: Stable transmission of torque and rotational motion between motors, reducers, pumps and other equipment to ensure continuous operation of th...

    Read More
  • Technical advantages of YHTJ ball cage universal coupling(1) High angle compensation capabilityLarge deflection angle: The deflection angle of a single section can reach 15°~25°, which can adapt to th...

    Read More