RSK-lxz Flexible Pin & Bush Coupling with Brake Wheel No Lubrication Required

Home / Products / Flexible Couplings / Elastic Pin Couplings / RSK-lxz Flexible Pin & Bush Coupling with Brake Wheel No Lubrication Required

RSK-lxz Flexible Pin & Bush Coupling with Brake Wheel No Lubrication Required

Contact Us
  • Specification
  • Describe
Specification

 

Key Characteristics

Functional Integration, Space Saving

Combines the transmission connector and braking actuator into one unit, greatly simplifying the axial layout of the drive train, saving installation space, and reducing the difficulty and cost of finding extra space between the motor and gearbox to mount a separate brake wheel

Direct Braking, Fast Response

The brake wheel is mounted directly on the drive shaft. The braking torque generated by the brake acting on the wheel is applied directly to the transmission system, resulting in quick braking response without delays or losses from intermediate transmission links

Compact Structure, Easy Installation

Supplied as a single integrated component. The user only needs to align and connect it like a standard coupling, without the need for separate alignment of a brake wheel, simplifying the installation process

Inherits Advantages of Pin Couplings

Some Misalignment Compensation: Can compensate for small amounts of axial, radial, and angular misalignment

Cushioning and Vibration Damping: The elastic rings can absorb some vibration and shock

No Lubrication Required: Nylon pins and elastic rings do not require lubrication during operation

Electrical Insulation: Nylon material provides insulation

Primary Application Fields

Overhead Cranes, Gantry Cranes: Bridge travel mechanism, trolley travel mechanism, hoisting mechanism.

Jib Cranes (Tower Cranes, Portal Cranes): Slewing mechanism, luffing mechanism.

Belt Conveyors, Bucket Elevators: Input side of the drive drum.

Metallurgical Foundry Cranes: Hoisting and traversing mechanisms.

Other material handling equipment requiring frequent starts/stops and reliable braking.

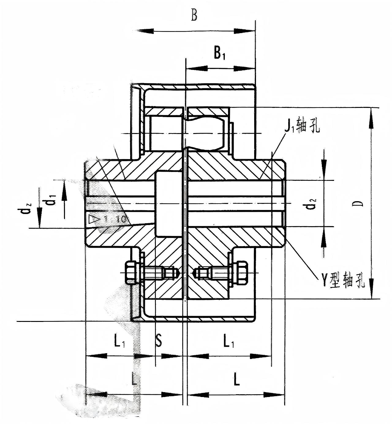
Model

Nominal Torque

(N·m)

Permissible

rotational speed

(rpm)

Shaft hole diameter

(mm)

d₁、d₂、 dz、

Shaft hole length

(mm)

D。

D

B

B₁

S

Allowable

compensation

amount

Moment

of

inertia

()

Weight

(kg)

Y-shaped

 

J、J₁、Z-shaped

Axial

Radial

Angle

direction

L

L₁

L

mm

 

 

RSK-LXZ1

560

5600

20、22、24

52

38

52

200

120

85

42

2.5

±1

0.15

≤0°30'

2.18

11

25、28

62

44

62

30、32、35

82

60

82

RSK-LXZ2

1250

3750

30、32、35、38

82

60

82

200

160

85

40

2.5

±1

0.15

≤0°30'

2.45

14

40、42、45、48

112

84

112

RSK-LXZ3

1250

2430

30、32、35、38

82

60

82

315

160

132

66

2.5

±1

0.15

≤0°30'

13.08

25

40、42、45、48

112

84

112

RSK-LXZ4

2500

2430

40、42、45、48、50、56

112

84

112

315

195

132

66

3

±1.5

0.15

≤0°30'

16.6

40

60、63

142

107

142

RSK-LXZ5

2500

1900

40、42、45、48、50、55、56

112

84

112

400

195

168

84

3

±1.5

0.15

≤0°30'

49.2

59

60、63

142

107

142

RSK-LXZ6

3150

1900

50、55、56

112

84

112

400

220

168

84

3

±1.5

0.15

≤0°30'

57.6

69

60、63、65、70、71、75

142

107

142

RSK-LXZ7

3150

1500

50、55、56

112

84

112

500

220

210

105

3

±1.5

0.15

≤0°30'

127.4

91

60、63、65、70、71、75

142

107

142

RSK-LXZ8

6300

1900

60、63、65、70、71、75

142

107

142

400

280

168

84

4

±2

0.2

≤0°30'

161.7

88

80、85

172

132

172

RSK-LXZ9

6300

1500

60、63、65、70、71、75

142

107

142

500

280

210

105

4

±2

0.2

≤0°30'

129.2

113

80、85

172

132

172

RSK-LXZ10

11200

1500

70、71、75

142

107

142

500

320

210

105

4

±2

0.2

≤0°30'

156

156

80、85、90、95

172

132

172

100、110

212

167

212

RSK-LXZ11

11200

1220

70、71、75

142

107

142

630

320

265

132

4

±2

0.2

≤0°30'

314

187

80、85、90、95

172

132

172

100、110

212

167

212

RSK-LXZ12

16000

1220

80、85、90、95

172

132

172

630

360

265

132

5

±2

0.2

≤0°30'

328

326

100、110、120、125

212

167

212

RSK-LXZ13

22400

1080

100、110、120、125

212

167

212

710

410

298

149

5

±2

0.2

≤0°30'

713

337

130、140

252

202

252

RSK-LXZ14

35500

1080

110、120、125

212

167

212

710

480

298

149

6

±2.5

0.25

≤0°30'

849

458

130、140、150

252

202

252

160、170、180

302

242

302

RSK-LXZ15

35500

950

110、120、125

212

167

212

800

480

335

168

6

±2.5

0.25

≤0°30'

1231

504

130、140、150

252

202

252

160、170、180

302

242

302

 







Company
Jiangsu Rokang Heavy Industry Technology Co., Ltd.
Jiangsu Rokang Heavy Industry Technology Co., Ltd. has fixed assets of more than 80 million yuan, and has a team of professional talents in mechanical design, precision manufacturing, heat treatment, welding, etc.; the company has a one-stop complete set of processing facilities and a series of quality inspection systems such as measurement, physical and chemical, and dynamic testing, and has a comprehensive mechanical processing capability. For many years, the company has been committed to the research and development and manufacturing of ball cage type constant velocity universal couplings, cross shaft type universal couplings, and drum gear couplings. It has carried out close industry-university-research cooperation with military and local scientific research institutes such as Jiangsu University of Science and Technology, School of Mechanical Engineering of Jiangsu University, and Power Engineering Department of PLA Naval Academy, and has continuously expanded into the fields of precision, heavy load and high speed. The products have successfully replaced foreign imported products with excellent performance, and the process technology has reached the international advanced level. It has been widely used in lifting and transportation, metallurgical machinery, metal rolling, engineering machinery, mining machinery, petrochemical, textile machinery, military ships, armored vehicles, railway locomotives, special vehicles and other fields. The product quality and service have been recognized and praised by the majority of users, and are exported to Europe, America, Russia, the Middle East, India and other countries and regions. In recent years, the company has been committed to the in-depth research and development of ball cage constant velocity universal couplings, and has successively developed ball cage constant velocity universal couplings for screw pumps, ball spline ball cage constant velocity universal couplings, coaxial double-speed, and double-way ball cage constant velocity universal couplings. It fundamentally solves the new problems that users currently encounter during use. The company has always adhered to the business purpose of "quality first, honest management, and customer first". We are willing to work with you with excellent products, preferential prices and thoughtful services to create a brilliant career!
Certificate Of Honor
  • 9
  • 10
  • 12
  • 1
  • 2
  • 3
  • 4
  • 5
  • 6
  • 7
  • 8
News
  • We are pleased to announce that the official website of Jiangsu Rokang Heavy Industry Technology Co., Ltd. is now online. Here you can learn about our latest product information, service introduction,...

    Read More
  • 1. Structural composition and meshing mechanism‌Double sprocket and common chain‌The chain coupling consists of two sprockets with the same number of teeth and a common roller chain. The two sprockets...

    Read More
  • Transmitting torque and motionEfficient power transmission: Stable transmission of torque and rotational motion between motors, reducers, pumps and other equipment to ensure continuous operation of th...

    Read More
  • Technical advantages of YHTJ ball cage universal coupling(1) High angle compensation capabilityLarge deflection angle: The deflection angle of a single section can reach 15°~25°, which can adapt to th...

    Read More