RSK Technology
Your Reliable Partner in Power Transmission

RSK-AL type Concave tyre coupling high torque transmission and multi-directional displacement compensation

Home / Products / Flexible Couplings / Tire Couplings / RSK-AL type Concave tyre coupling high torque transmission and multi-directional displacement compensation

RSK-AL type Concave tyre coupling high torque transmission and multi-directional displacement compensation

Contact Us
  • Specification
  • Describe
Specification

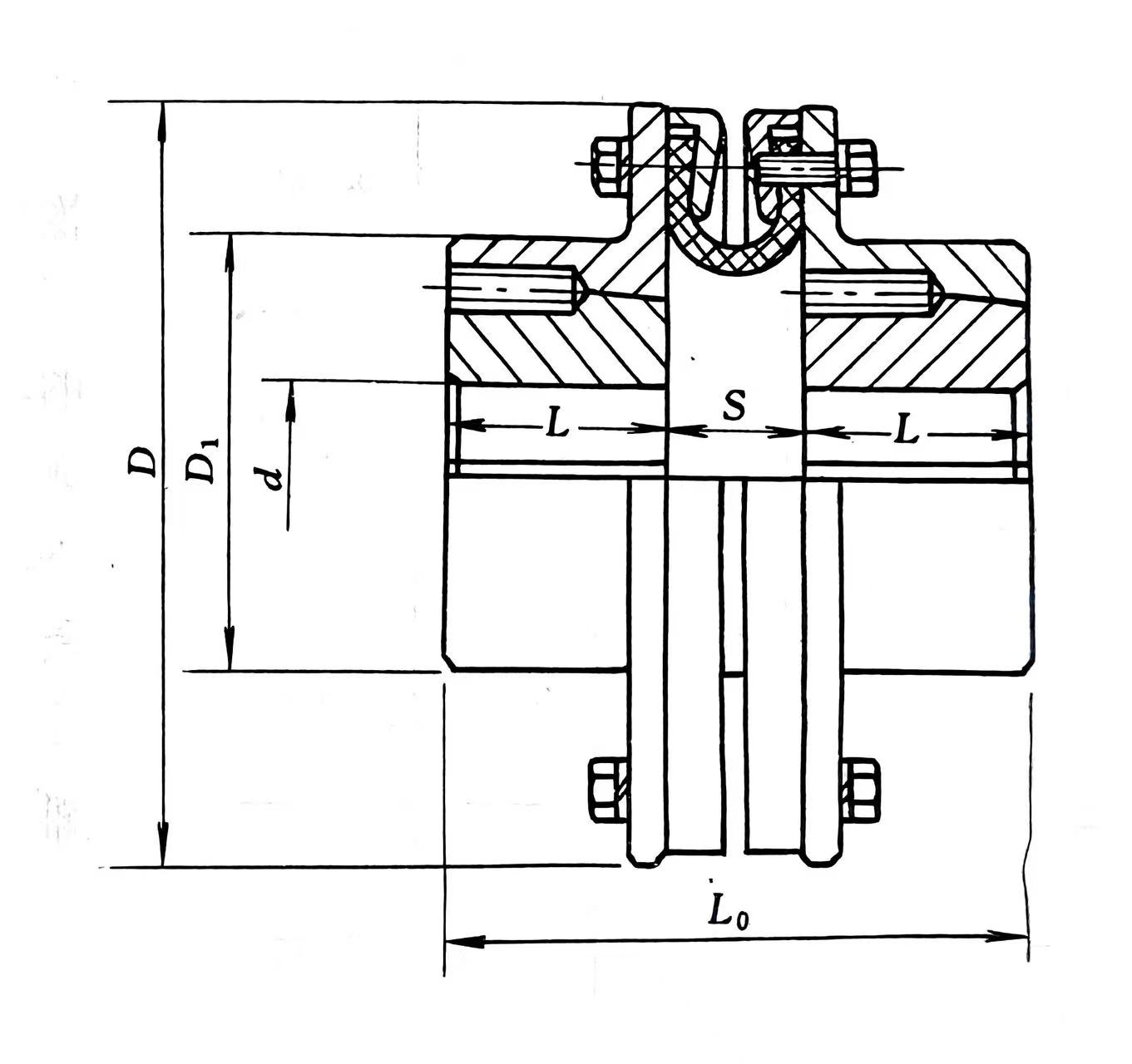
RSK-AL type Concave tyre coupling is a high-strength flexible coupling. Its core component is a concave-shaped elastomeric tyre made of rubber or polyurethane, which is secured by being pressed between inner and outer metal frames. It utilises the radial compression and circumferential shear of the tyre to achieve high torque transmission and multi-directional displacement compensation. It is suitable for power transmission systems in heavy machinery, marine propulsion, and mining equipment that have stringent requirements for high flexibility, high load capacity, and impact resistance.

Model

Nominal Torque

Tn

/N·m

Permissible

Rotational Speed

[n]

 

Shaft Hole Diameter

d

Shaft Hole

Length

L

D

 D1

L₀

S

Weight

m/ kg

min

max

LA1

63

5000

12

40

27

138

86

80

26

4.08

LA2

80

12

42

31

150

94

88

27

4.99

LA3

125

12

50

33

172

113

95

28

6.8

LA4

200

4500

16

65

46

192

125

127

35

10.9

LA5

315

4000

16

70

48

219

144

137

38

15.9

LA6

450

3600

24

80

54

242

152

149

41

20.9

LA7

630

3000

24

85

62

276

178

168

44

28.1

LA8

1000

2800

24

95

66

310

210

187

54

44.5

LA9

1600

2400

28

130

90

357

251

245

64

76.2

LA10

2500

2200

38

150

104

393

251

285

76

89.8

LA11

3550

2000

38

160

116

430

254

322

90

102

LA12

5600

1850

38

170

116

471

267

337

102

120

LA13

8000

1600

45

190

142

510

272

401

117

151

LA14

12500

1500

48

200

152

576

284

432

127

211

LA15

16000

1400

50

200

162

617

300

471

146

255

 







Company
Jiangsu Rokang Heavy Industry Technology Co., Ltd.
Jiangsu Rokang Heavy Industry Technology Co., Ltd. has fixed assets of more than 80 million yuan, and has a team of professional talents in mechanical design, precision manufacturing, heat treatment, welding, etc.; the company has a one-stop complete set of processing facilities and a series of quality inspection systems such as measurement, physical and chemical, and dynamic testing, and has a comprehensive mechanical processing capability. For many years, the company has been committed to the research and development and manufacturing of ball cage type constant velocity universal couplings, cross shaft type universal couplings, and drum gear couplings. It has carried out close industry-university-research cooperation with military and local scientific research institutes and Power Engineering Department of PLA Naval Academy, and has continuously expanded into the fields of precision, heavy load and high speed. The products have successfully replaced foreign famous brand products with excellent performance, and the process technology has reached the international advanced level. It has been widely used in lifting and transportation, metallurgical machinery, metal rolling, engineering machinery, mining machinery, petrochemical, textile machinery, military ships, armored vehicles, railway locomotives, special vehicles and other fields. The product quality and service have been recognized and praised by the majority of users, and are exported to Europe, America, Russia, the Middle East, India and other countries and regions. In recent years, the company has been committed to the in-depth research and development of ball cage constant velocity universal couplings, and has successively developed ball cage constant velocity universal couplings for screw pumps, ball spline ball cage constant velocity universal couplings, coaxial double-speed, and double-way ball cage constant velocity universal couplings. It fundamentally solves the new problems that users currently encounter during use. The company has always adhered to the business purpose of "quality first, honest management, and customer first". We are willing to work with you with excellent products, preferential prices and thoughtful services to create a brilliant career!
Certificate Of Honor
  • 9
  • 9
  • 10
  • 12
  • 1
  • 2
  • 3
  • 4
  • 5
  • 6
  • 7
  • 8
  • CE-HTT2025041211R
  • CE-HTT2025041212R
  • REACH-HTT2025041211CH
  • REACH-HTT2025041212CH
  • ROHS-HTT2025041211CH
  • ROHS-HTT2025041212CH
News
  • We are pleased to announce that the official website of Jiangsu Rokang Heavy Industry Technology Co., Ltd. is now online. Here you can learn about our latest product information, service introduction,...

    Read More
  • 1. Structural composition and meshing mechanism‌Double sprocket and common chain‌The chain coupling consists of two sprockets with the same number of teeth and a common roller chain. The two sprockets...

    Read More
  • Transmitting torque and motionEfficient power transmission: Stable transmission of torque and rotational motion between motors, reducers, pumps and other equipment to ensure continuous operation of th...

    Read More
  • Technical advantages of YHTJ ball cage universal coupling(1) High angle compensation capabilityLarge deflection angle: The deflection angle of a single section can reach 15°~25°, which can adapt to th...

    Read More